公司金鹏副教授研究团队,以绿色建筑日光照明系统为研究对象,采用拼接式聚光系统、新型的四镜面反射系统、追踪系统和导光管系统,在x100的聚光比实现了高效的建筑日光照明。研究成果以 ”Design and analysis of an active daylight harvesting system for building” 于2019年2月17日被国际能源期刊 Renewable Energy 接收。
《Renewable Energy》影响因子为4.982,CiteScore为5.38,是能源类的国际顶尖期刊之一 (JCR® Q1)。这也是绿色照明实验室首次在能源类期刊发表高影响因子论文。

根据IEA的报告,中国是世界第二大建筑能源国家,2014年占全球建筑能源消耗的近14%。2016年,建筑能源消耗量占中国一次能源消费总量的20%,而照明更是占据建筑能源消费总量的16%。
目前来说,建筑阳光技术主要分为三种,即百叶窗、光导管和光纤照明。百叶窗是在窗户上增加反射片将太阳光反射到建筑内部;导光管式选用高反射材料安装在屋顶将阳光反射到建筑物中;光纤照明系统由追踪系统、聚焦透镜和光纤组成,传输距离长但光通量非常小。为了克服目前日光照明系统研究所存在的传输过程中能量损失大、光通量小、红外辐射高和有效照明时间短等缺点,本研究以建筑日光高效采集系统为研究对象,首次实现了:
1. 拼接式镜面组装成抛物面聚光系统,为了降低太阳能集中器的重量和制造成本,采用碳纤维增强PLA材料3D打印制成聚光系统基底,同时考虑面形误差对于系统的影响;
2. 四镜面反射系统实现光线准直进入导光管,减少传输过程中反射能量损失,采用high-pass镀膜工艺,透过红外波段,将可见光反射进入建筑内部照明;
3. 采取光电跟踪和视日追踪方法设计追踪系统保证追踪精度小于0.5°;
4. 光导管系统中4透镜联动实现日光聚光和准直,完成太阳光的精准提取和控制。

图1. 主动跟踪式聚光系统的示意图 - 聚光,准直,联动和导光
研究表明,新型建筑日光照明系统比目前其他系统相比能效更高,可大大减少建筑内部照明消耗量和空调负荷。 本文提出一个新型建筑日光采集照明系统,成功克服了现有日光采集系统的不足。
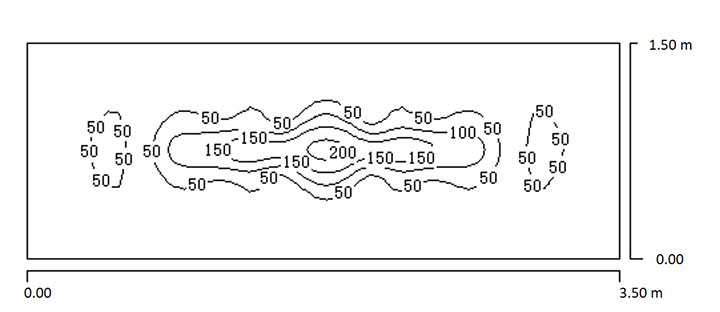
通过在深圳地区的实验测试和模拟仿真,本文提出的新型建筑日光照明采集照明系统,直径为0.1m的光导管能够传输平均30000 lm的自然光且有效照明时长超过8个小时。光束准直后,光线取出比例易于控制, 取出2.5%的光线用于 5 米 × 3米 × 2.5 米 房间照明,工作平面的平均照度为120 lux, 并且避免了传统光导管系统的眩光(图2)。本文设计的系统传输的光通量能够满足30间Demo房屋的照明。

图2. Demo 房间工作平面的照度 Lux分布图
针对现有的光纤照明和导光管照明系统,提出并评价了一种新型日光采集照明系统。太阳聚光器采用碳纤维增强聚乳酸(PLA)材料3D打印而成,重量轻,制造成本低,是日光采集照明系统的理想选择;建筑照明只需要可见光,我们选择了high-pass 镀膜工艺来滤除日光中红外波段,反射可见光波段参与建筑内照明,大大降低了建筑内部空调负荷,减少系统的热负荷;采用一种新型的四镜面反射系统,具有光线准直的功能,在100倍的聚光比下,直径为0.1 m的光导管可将30000 lm的日光导入到建筑物内部。试验测试和仿真结果表明,与目前的光导管和光纤照明系统相比,该系统光通量提高100倍以上,可以用于大面积室内照明。与非跟踪的光导管系统对比,本系统有效采光时间为2倍以上。
该工作是williamhill官方网站金鹏副教授及其2016级硕士生李秀杰团队一起完成。以上工作得到了深圳市科技创新委 (No. JSGG 20170824094716462 and JCYJ20150529095551499)的资助支持。
作者简介
金鹏 副教授 。
1992年获南开大学物理学学士,期间在现代光学所研究LiNbO3光折变晶体。后在天津石化机械研究所任工程师。2000年获美国休斯敦大学物理学博士,师从朱经武教授,研究氧化物材料与超导薄膜器件。2001年,在美国康宁公司任高级工程师兼光纤工程专家,研究超低偏振光色散40G光纤;2002年,在Sensitron半导体公司任高级工程师,负责功率半导体和光电模组研发;2004年在CML innovative technologies任科技总监, 主导了LED汽车尾灯等产品的系统设计。2006年归国, 在williamhill中文深圳研究生院任教,开设的研究生课程有 “节能技术和可持续设计”、“清洁能源技术”、“化合物半导体与器件”和“集成微系统封装”等。 作为课题负责人承担了国家02 科技重大专项、 深圳市杰出青年计划等科研项目。近年发表论文30余篇,中国发明专利12 项,国际专利2项,专著2本。科研成果涉及聚光太阳能、光生物、色度学和微系统封装等领域。