深圳市太阳能与风能海水淡化关键技术工程实验室成立于2015年1月,实验室主任为邱国玉教授。该实验室围绕海水淡化产业发展的高能耗问题,针对太阳能和风能海水淡化技术的迫切需求,开展低能耗海水淡化技术的研发。
本实验室总投资1670万元,包括太阳能风能采集试验场、海水淡化装置试验场和新型膜技术开发实验室等。

图1太阳能风能采集试验场

图2 海水淡化装置试验场

图3新型膜技术开发实验室
本实验室在前期基础上研发具有自主知识产权的、利用太阳能和风进行苦咸水和海水淡化的分散式设备和关键技术,并实现浓缩盐水的资源化,主要研究耐高压、高脱盐率、高透水率和低污染的高性能膜、太阳能与风能互补技术,开发商业化的太阳能与风能驱动的小型苦咸水与海水淡化装置。转让相关技术,推动产业发展,培养新能源海水淡化的高层次人才和高水平研发团队,搭建新能源海水淡化的国际合作平台,为我国新能源海水淡化事业提供专业咨询和技术支撑。产品可望广泛应用于大型舰船、钻井平台、离岛、沿岸居民点,内陆等能源和淡水资源缺乏的地区,为国家海洋战略服务。
本实验室的主要研究内容和成果如下:
1. 低能耗海水淡化技术的研发
本实验室所研发的低能耗海水淡化技术包括膜系统和高压泵与能量回收系统。反渗透系统采用一级三段排列,提高回收率;通过两级多介质+两级微滤保障系统进水水质。使用压力交换式能量交换器回收浓水能量,系统单位产水能耗最低仅需3.52 kW·h/m3,比不采用能量回收装置时(6.13 kW·h/m3)节能42.58%。

图4 低能耗海水淡化技术概念图
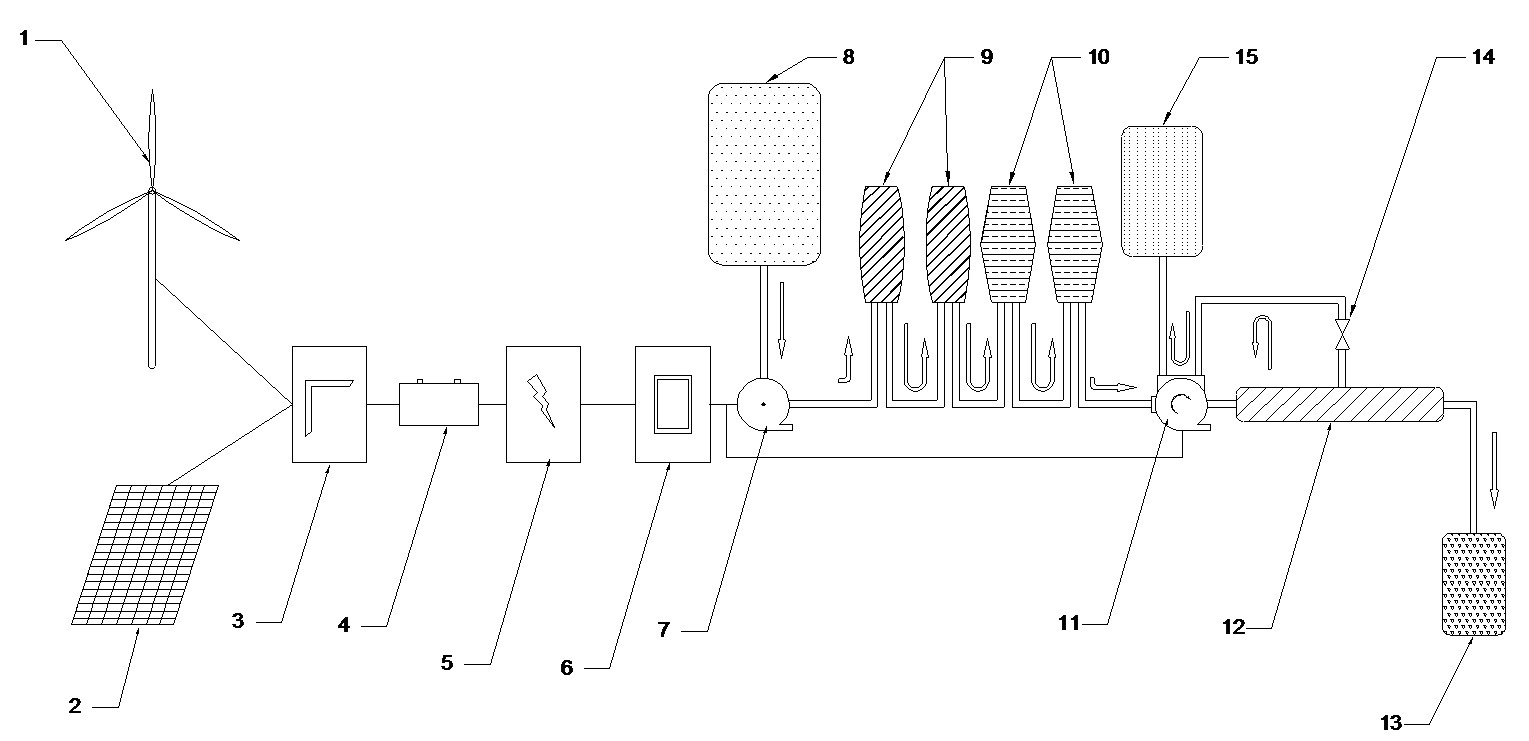
2. 利用风能、太阳能进行海水淡化的关键技术及其集成
本实验根据研究场地的太阳能资源和风能资源以及环境限制等,合理设计风光互补系统,从发电、控制、储能和能量供给几方面入手,对其进行优化设计。所研发的太阳能-风能风光互补发电系统装机容量为21.2 kW,日均发电量85.27 kW·h。储能系统可储能33 kW·h,在发电系统发电能力不足时,可保障系统运行7.5小时。

图5集成工艺流程图
其中,1-风力发电机,2-光伏发电机组,3-发电控制箱,4-蓄电池,5-逆变系统,6-海水淡化控制箱,7-原水泵,8-原水箱,9-多介质过滤器,10-精密过滤器,11-高压泵(带能量回收装置),12-反渗透膜系统,13-产水箱,14-流量调节阀,15-浓水箱

图6 本实验室研发的新能源海水淡化装置图
3. 海水淡化资源综合利用工艺
反渗透海水淡化系统浓水难处理且含有一定的固体资源,可用于海水制镁、制溴、制钾等。因此,本项目研究了一种基于减压脱水干燥的海水淡化资源综合利用工艺。结果表明,减压脱水干燥装置装置对浓水中水资源的回收率能达到90%左右,同时将残渣形成固体(干燥程度随TDS含量上升而下降),便于下一步的固体资源回收。

图7 减压脱水干燥系统的工艺流程图